SEAGULL هي شركة متخصصة في توريد وتصنيع الرافعات الكهربائية، وتوفر خدمة الشباك الواحد.
نقاط البيع الرئيسية:
1.
متعدد الأغراض & متينة
جسم سبيكة الألومنيوم مع طول الحبل المعدلة التلقائي للرفع/خفض متعدد الاستخدامات.
2.
نظام الحبل القوي للغاية
1x19/6x19 + IWS الفولاذ الحبال (1770 ميجا باسكال) مع تقطيع الدقة 45 درجة لمقاومة التآكل.
3.
عمر ممتد
فكي قبضة الصلابة المحسّنة (0.8T-5.4T) ومكونات الأرض الدقيقة.
4.
آمن & سهل الاستخدام
تصميم الرافعة المدمجة ، المقبض القابل للتعديل ، دبابيس القص الاحتياطية ، و 150 ٪ من الحبال التي تم اختبارها.
5.
جودة موثوقة
التجميعات التي تم اختبارها مغناطيسيًا + شهادات اختبار فردية لكل حبل.
| ZNL حبل الأسلاك سحب الرافعة | ||||
| نموذج | ZNL-800 | ZNL-1600 | ZNL-3200 | ZNL-5400 |
| تم تصنيف قوة اليد إلى الأمام (N) | 341 | 438 | 438 | 745 |
| السعة المقدرة (كغ) | 800 | 1600 | 3200 | 5400 |
| تصنيف إلى الأمام السفر (تأرجحه للأمام وللخلف) | ≥52 | ≥55 | ≥28 | ≥30 |
| قطر الحبل (مم) | 8.3 | 11 | 16 | 20 |
| سعة تحميل عامل أمان الحبل الأسلاك (مرات) | 5 | 5 | 5 | 5 |
| عامل السلامة&سعة الحمل الثابت (الأوقات) | 4 | 4 | 4 | 4 |
| max.travelling load (kg) | 1200 | 2400 | 4000 | 8000 |
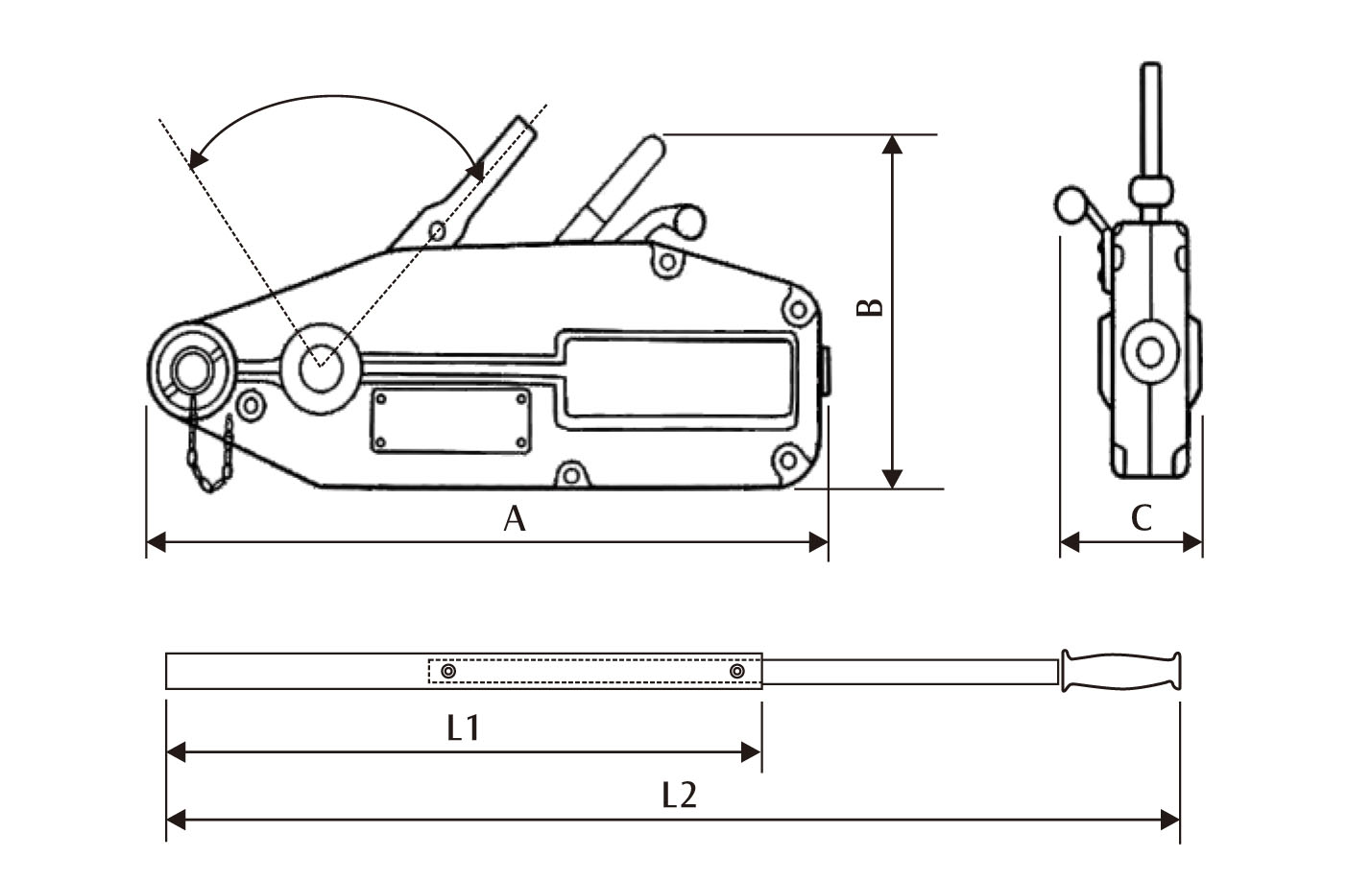
|
حجم max.outer (مم) A
B C |
426
238 64 |
545
284 97 |
660
325 116 |
930
480 152 |
| L1 (سم) | 80 | 80 | 80 | 80 |
| L2 (سم) | 80 | 120 | 120 | 120 |
| الوزن الصافي (كغ) | 14.6 | 26.4 | 49.3 | 98 |
















